ПРОДУКЦИЯ

Цепи приводные ПЗ

Описание:

ПРИМЕР УСЛОВНОГО ОБОЗНАЯЕНИЯ ПРИ ЗАКАЗЕ:

Цепь ПЗ-1-19,05-74-45 ГОСТ 13552-81, где:

1 - тип;
19,05 - шаг, мм ;
74 - разрушающая нагрузка 74 кН ;
45 - рабочая ширина, мм.


Подробнее:

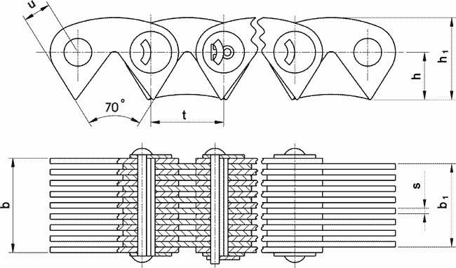
Схематическое изображение цепи типа ПЗ:


Базовые технические параметры зубчатых цепей 

Обозначение цепи t b h h1 s ub1Разрушающая нагрузка, кН, не менее Масса 1 м цепи, кг
ПЗ-1-12,7-25-22,5
ПЗ-1-12,7-31-28,5
ПЗ-1-12,7-36-34,5
ПЗ-1-12,7-42-40,5
ПЗ-1-12,7-49-46,5
ПЗ-1-12,7-56-52,5
12,7
22,5
28,5
34,5
40,5
46,5
52,5
13,4
7,0
1,5
4,76
28,5
34,5
40,5
46,5
52,5
58,5
25
31
36
42
49
56
1,3
1,6
2,0
2,3
2,7
3,0
ПЗ-1-15,875-41-30
ПЗ-1-15,875-50-38
ПЗ-1-15,875-58-46
ПЗ-1-15,875-69-54
ПЗ-1-15,875-80-62
ПЗ-1-15,875-91-70
15,875
30
38
46
54
62
70
16,7
8,7
2
5,95
36
44
52
60
68
76
41
50
58
69
80
91
2,2
2,7
3,3
3,9
4,4
5,0
ПЗ-19,05-74-45
ПЗ-19,05-89-57
ПЗ-19,05-105-69
ПЗ-19,05-124-81
ПЗ-19,05-143-93
19,05
45
57
69
81
93
20,1
10,5
3
4,14
52,5
64,5
76,5
88,5
100,5
74
89
105
124
143
3,9
4,9
5,9
7,0
8,0